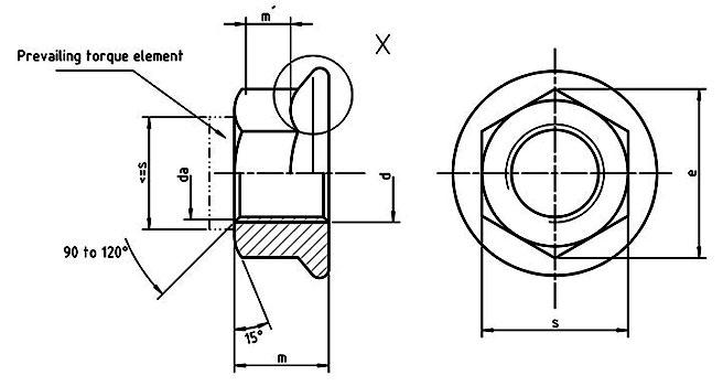
| Thread size | p | c | da | dc | dw | e | h | m | m | s | r | ||||
|---|---|---|---|---|---|---|---|---|---|---|---|---|---|---|---|
| min | min | max | max | min | min | max | min | min | Nominal = max | min | max | ||||
| M5 | – | – | 0.8 | 1 | 5 | 5.75 | 11.8 | 9.8 | 8.79 | 6.2 | 4.7 | 2.2 | 8 | 7.78 | 0.3 |
| M6 | – | – | 1 | 1.1 | 6 | 6.75 | 14.2 | 12.2 | 11.05 | 7.3 | 5.7 | 3.1 | 10 | 9.78 | 0.36 |
| M8 | M8x1 | – | 1.25 | 1.2 | 8 | 8.75 | 17.9 | 15.8 | 14.38 | 9.4 | 7.6 | 4.5 | 13 | 12.73 | 0.48 |
| M10 | M10x1.25 | M10x1 | 1.5 | 1.5 | 10 | 10.8 | 21.8 | 19.6 | 16.64 | 11.4 | 9.6 | 5.5 | 15 | 14.73 | 0.6 |
| M12 | M12x1.5 | M12x1.25 | 1.75 | 1.8 | 12 | 13 | 26 | 23.8 | 20.03 | 13.8 | 11.6 | 6.7 | 18 | 17.73 | 0.72 |
| M14 | M14x1.5 | – | 2 | 2.1 | 14 | 15.1 | 29.9 | 27.6 | 23.36 | 15.9 | 13.3 | 7.8 | 21 | 20.67 | 0.88 |
| M16 | M16x1.5 | – | 2 | 2.4 | 16 | 17.3 | 34.5 | 31.9 | 26.75 | 18.3 | 15.3 | 9 | 24 | 23.67 | 0.96 |
| M20 | M20x1.5 | – | 2.5 | 3 | 20 | 21.6 | 42.8 | 39.9 | 32.95 | 22.4 | 18.9 | 11.1 | 30 | 29.16 | 1.2 |
Notes : Non preferred size, not recommended for new design due to limited availability