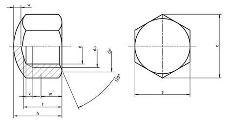
s – size of the hexagon
e – the diameter of the circumscribed circle (not less than)
d – the nominal diameter of the thread
h – height of the nut
m – hight of the nut part
da – Turning diameter shrinkage
dw – contact surface diameter
| d | p | da | dv | e | h | m | s | |||||
|---|---|---|---|---|---|---|---|---|---|---|---|---|
| Series 1 | Series 2 | Series 3 | min. | max. | min. | min. | max. | min. | min. | max | min. | |
| M 3 | – | – | 0.5 | 3 | 3.45 | 4.6 | 6.01 | 3.7 | 3.4 | 1.65 | 5.5 | 5.32 |
| M 4 | – | – | 0.7 | 4 | 4.6 | 5.9 | 7.66 | 4.2 | 3.9 | 2.2 | 7 | 6.78 |
| M 5 | – | – | 0.8 | 5 | 5.75 | 6.9 | 8.79 | 5.1 | 4.8 | 2.75 | 8 | 7.78 |
| M 6 | – | – | 1 | 6 | 6.75 | 8.9 | 11.05 | 6 | 5.7 | 3.3 | 10 | 9.78 |
| M 7 | – | 1 | 7 | 7.75 | 9.6 | 12.12 | 7 | 6.5 | 3.85 | 11 | 10.73 | |
| M 8 | M 8×1 | – | 1.25 | 8 | 8.75 | 11.6 | 14.38 | 8 | 7.5 | 4.4 | 13 | 12.73 |
| M 10 | M 10×1 | M 10×1.25 | 1.5 | 10 | 10.8 | 15.6 | 18.9 | 10 | 9 | 5.5 | 17 | 16.73 |
| M 12 | M 12×1.5 | M 12×1.25 | 1.75 | 12 | 13 | 17.4 | 21.1 | 12 | 11 | 6.6 | 19 | 18.67 |
| M 14 | M 14×1.5 | – | 2 | 14 | 15.1 | 20.5 | 24.49 | 14 | 12 | 7.7 | 22 | 21.67 |
| M 16 | M 16×1.5 | – | 2 | 16 | 17.3 | 22.5 | 26.75 | 16 | 14 | 8.8 | 24 | 23.67 |
| M 18 | M 18×2 | M 18×1.5 | 2.5 | 18 | 19.5 | 24.9 | 29.56 | 18 | 16 | 9.9 | 27 | 26.16 |
| M 20 | M 20×2 | M 20×1.5 | 2.5 | 20 | 21.6 | 27.7 | 32.95 | 20 | 18 | 11 | 30 | 29.16 |
| M 22 | M 22×2 | M 22×1.5 | 2.5 | 22 | 23.7 | 29.5 | 35.03 | 22 | 20 | 12.2 | 32 | 31 |
| M 24 | M 24×2 | – | 3 | 24 | 25.9 | 33.2 | 39.55 | 24 | 22 | 13.2 | 36 | 35 |
| M 27 | M 27×2 | – | 3 | 27 | 29.1 | 38 | 45.2 | 27 | 25 | 14.8 | 41 | 40 |
| M 30 | M 30×2 | – | 3.5 | 30 | 32.4 | 42.7 | 50.85 | 30 | 28 | 16.5 | 46 | 45 |
| M 33 | M 33×2 | – | 3.5 | 33 | 35.6 | 46.6 | 55.37 | 33 | 31 | 18.2 | 50 | 49 |
| M 36 | M 36×2 | – | 4 | 36 | 38.9 | 51.1 | 60.79 | 36 | 34 | 19.8 | 55 | 53.8 |
| M 39 | M 39×2 | – | 4 | 39 | 42.1 | 55.9 | 66.44 | 39 | 37 | 21.5 | 60 | 58.8 |