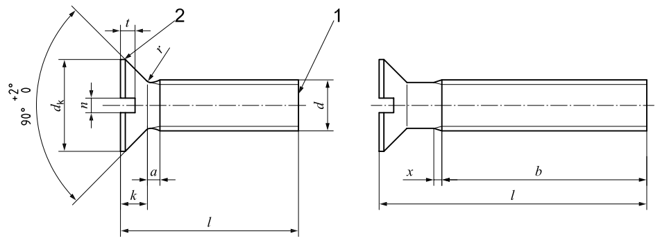
ISO 2009 International Standard specifies the characteristics of slotted countersunk flat head screws of product grade A and with threads from M1,6 to M10 inclusive.
The shank diameter is approximately equal to the pitch diameter or equal to the permissible major thread diameter
| Thread (d) | M1.6 | M2 | M2.5 | M3 | (M3.5)1) | M4 | M5 | M6 | M8 | M10 | ||
|---|---|---|---|---|---|---|---|---|---|---|---|---|
| p2) | 0.35 | 0.4 | 0.45 | 0.5 | 0.6 | 0.7 | 0.8 | 1 | 1.25 | 1.5 | ||
| a | max. | 0.7 | 0.8 | 0.9 | 1 | 1.2 | 1.4 | 1.6 | 2 | 2.5 | 3 | |
| b | min. | 25 | 25 | 25 | 25 | 38 | 38 | 38 | 38 | 38 | 38 | |
| dk3) | theoretical | max | 3.6 | 4.4 | 5.5 | 6.3 | 8.2 | 9.4 | 10.4 | 12.6 | 17.3 | 20 |
| actual | nom. = max. | 3.0 | 3.8 | 4.7 | 5.5 | 7.30 | 8.40 | 9.30 | 11.30 | 15.80 | 18.30 | |
| min. | 2.7 | 3.5 | 4.4 | 5.2 | 6.94 | 8.04 | 8.94 | 10.87 | 15.37 | 17.78 | ||
| k3 | nom. = max. | 1 | 1.2 | 1.5 | 1.65 | 2.35 | 2.7 | 2.7 | 3.3 | 4.65 | 5 | |
| n | nom. | 0.4 | 0.5 | 0.6 | 0.8 | 1 | 1.2 | 1.2 | 1.6 | 2 | 2.5 | |
| max. | 0.60 | 0.70 | 0.80 | 1.00 | 1.20 | 1.51 | 1.51 | 1.91 | 2.31 | 2.81 | ||
| min. | 0.46 | 0.56 | 0.66 | 0.86 | 1.06 | 1.26 | 1.26 | 1.66 | 2.06 | 2.56 | ||
| r | max. | 0.4 | 0.5 | 0.6 | 0.8 | 0.9 | 1 | 1.3 | 1.5 | 2 | 2.5 | |
| t | max. | 0.50 | 0.6 | 0.75 | 0.85 | 1.2 | 1.3 | 1.4 | 1.6 | 2.3 | 2.6 | |
| min. | 0.32 | 0.4 | 0.50 | 0.60 | 0.9 | 1.0 | 1.1 | 1.2 | 1.8 | 2.0 | ||
| x | max. | 0.9 | 1 | 1.1 | 1.25 | 1.5 | 1.75 | 2 | 2.5 | 3.2 | 3.8 | |
| nom. | l 1) 4) min. | max. | Approximate mass, in kilograms per 1 000 pieces (ρ = 7,85 kg/dm3) (for information only) | |||||||||
| 2.5 | 2.3 | 2.7 | 0.053 | |||||||||
| 3 | 2.8 | 3.2 | 0.058 | 0.101 | ||||||||
| 4 | 3.76 | 4.24 | 0.069 | 0.119 | 0.206 | |||||||
| 5 | 4.76 | 5.24 | 0.081 | 0.137 | 0.236 | 0.335 | ||||||
| 6 | 5.76 | 6.24 | 0.093 | 0.152 | 0.266 | 0.379 | 0.633 | 0.903 | ||||
| 8 | 7.71 | 8.29 | 0.116 | 0.193 | 0.326 | 0.467 | 0.753 | 1.06 | 1.48 | 2.38 | ||
| 10 | 9.71 | 10.29 | 0.139 | 0.231 | 0.386 | 0.555 | 0.873 | 1.22 | 1.72 | 2.73 | 5.68 | |
| 12 | 11.65 | 0.162 | 0.268 | 0.446 | 0.643 | 0.993 | 1.37 | 1.96 | 3.08 | 6.32 | 9.54 | |
| (14) | 13.65 | 14.35 | 0.185 | 0.306 | 0.507 | 0.731 | 1.11 | 1.53 | 2.2 | 3.43 | 6.96 | 10.6 |
| 16 | 15.65 | 16.35 | 0.208 | 0343 | 0.567 | 0.82 | 1.23 | 1.68 | 2.44 | 3.78 | 7.6 | 11.6 |
| 20 | 19.58 | 20.42 | 0.417 | 0.684 | 0.996 | 1.47 | 2 | 2.92 | 4.48 | 8.88 | 13.6 | |
| 25 | 24.58 | 25.42 | 0.838 | 1.22 | 1.77 | 2.39 | 3.52 | 5.36 | 10.5 | 16.1 | ||
| 30 | 29.58 | 30.42 | 1.44 | 2.07 | 2.78 | 4.12 | 6.23 | 12.1 | 18.7 | |||
| 35 | 34.5 | 35.5 | 2.37 | 3.17 | 4.72 | 7.11 | 13.7 | 21.2 | ||||
| 40 | 39.5 | 40.5 | 3.56 | 5.32 | 7.98 | 15.3 | 23.7 | |||||
| 45 | 44.5 | 45.5 | 5.92 | 8.86 | 16.9 | 26.2 | ||||||
| 50 | 49.5 | 50.5 | 6.52 | 9.73 | 18.5 | 28.8 | ||||||
| (55) | 54.05 | 55.95 | 10.6 | 20.1 | 31.3 | |||||||
| 60 | 59.05 | 60.95 | 11.5 | 21.7 | 33.8 | |||||||
| (65) | 64.05 | 65.95 | 23.3 | 36.3 | ||||||||
| 70 | 69.05 | 70.95 | 24.9 | 38.9 | ||||||||
| (75) | 74.05 | 75.95 | 26.5 | 41.4 | ||||||||
| 80 | 79.05 | 80.95 | 28.1 | 43.9 | ||||||||
1) Sizes in parentheses should be avoided if possible | ||||||||||||
| Material | Steel | Stainless Steel | Non-ferrous metal | |
|---|---|---|---|---|
| General requirements | International Standard | ISO 8992 | ||
| Thread | Tolerance | 6g | ||
| International Standards | ISO 261, ISO 965-2 | |||
| Mechanical Properties | Property class | 4.8, 5.8 | A2-50, A2-70 | … |
| International Standards | ISO 898-1 | ISO 3506 | ISO 8839 | |
| Tolerance | Product grade | A | ||
| International Standards | ISO 4759-1 | |||
| Finish | Plain | |||
Requirements for electroplating are covered in ISO 4042 If different electroplsting requirements are dsired or if requirements are Limits for surface discontinuous are cover in ISO 6157-1 | ||||
| Acceptability | Acceptance procedure is covered in ISO 3269 | |||
Example of designation: A slotted countersunk flat hjead screw with thread M5, nomial length l = 20 mm and property class 4.8 is designated as follows:
ISO 225: 1983, Fasteners– Bolts, screws, studs and nuts — Symbol and designation of dimensions.
ISO 261: 1973, ISO general purpose metric screw threads — General plan
ISO 888: 1976, Bolts screws and nuts- Nominal lengths, and thread lengths for general purpose bolts.
ISO 898-1: 1988, Mechanical properties of fasteners – Part 1: Bolts, screws and studs.
ISO 965-2: 1980, ISO general purpose metric screw threads – Tolerantes – Part 2: Limits of sizes for general purpose bolt and nut threads – Medium quality.
ISO 3269: 1988, Fasteners – Acceptance inspection.
ISO 3506:1979, orrosion-resistant stainless steel fasteners – Specifications.
ISO 4042:1989, Threaded components Electroplated coating.
ISO 4759-1:1978, Tolerantes for fasteners – Part 1: Bolts, screws and nuts with thread diameters between 1,6 (inclusive) and 150 mm (inclusive) and product grades A, B and C
ISO 6157-1:1988, Fasteners – Surface discontinuities – Part 1: Bolts, screws and studs for general requirements.
ISO 4042:1983, Countersunk head screws – Head configuration and gauging.
ISO 8839:1986, Mechanical properties of fasteners – Bolts, screws, studs and nuts made of non-ferrous metals.
ISO 8992:1986, Fasteners – General requirements for bolts, screws, studs and nuts.