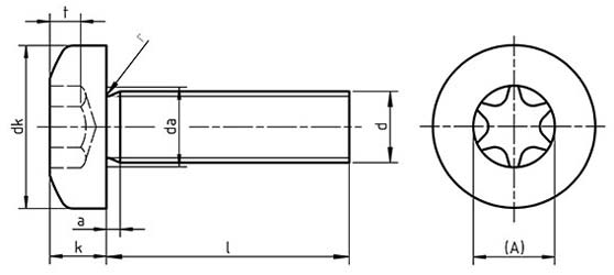
ISO 14583

Dimensions for ISO 14583 Hexalobular raised cheese head

Thread dpabdadkkrrfxInner Hexalobular
hexalobular numberAt
maxminmaxnom=maxminnom=maxminminapproxmaxref.maxmin
M 20.40.8252.643.71.61.460.13.2161.750.770.63
M 2.50.450.9253.144.72.11.960.141.182.41.040.91
M 30.51253.65.65.32.42.260.151.25102.81.271.01
M 3.50.61.2384.176.642.62.460.161.5153.351.331.07
M 40.71.4384.787.643.12.920.26.51.75203.951.661.27
M 50.81.6385.79.59.143.73.520.282254.51.911.52
M 612386.81211.574.64.30.25102.5305.62.422.02
M 81.252.5389.21615.5765.70.4133.2457.953.182.79
M 101.533811.22019.487.57.140.4163.8508.954.023.62