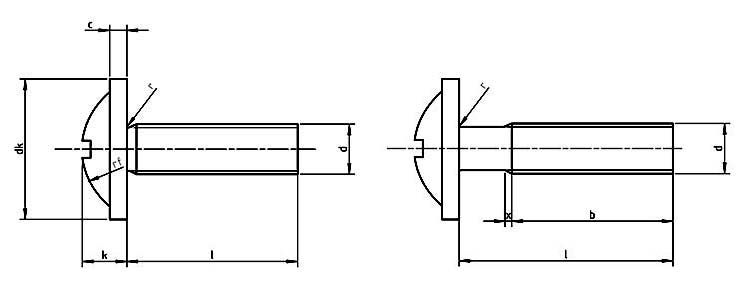
| Thread d | p | a | b | da | dk | k | c | r | r1 | x | Type H | Type Z | |||||||||
|---|---|---|---|---|---|---|---|---|---|---|---|---|---|---|---|---|---|---|---|---|---|
| max | min | max | nominal = max | min | nominal=max | min | max | min | min | approx | max | size | m | Penetration depth min. | Penetration depth max. | size | m | Penetration depth min. | Penetration depth max. | ||
| M3 | 0.5 | 1 | 25 | 3.6 | 7.5 | 6.92 | 2.35 | 2.1 | 0.8 | 0.6 | 0.1 | 3.8 | 1.25 | 1 | 3 | 1.35 | 1.8 | 1 | 2.9 | 1.58 | 1.83 |
| M3.5 | 0.6 | 1.2 | 38 | 4.1 | 9 | 8.42 | 2.6 | 2.35 | 0.9 | 0.7 | 0.1 | 4.6 | 1.5 | 2 | 4.2 | 1.4 | 2.03 | 2 | 3.9 | 1.47 | 1.93 |
| M4 | 0.7 | 1.4 | 38 | 4.7 | 10 | 9.42 | 3.05 | 2.75 | 1.1 | 0.9 | 0.2 | 5.8 | 1.75 | 2 | 4.6 | 1.8 | 2.46 | 2 | 4.3 | 1.88 | 2.34 |
| M5 | 0.8 | 1.6 | 38 | 5.7 | 11.5 | 10.8 | 3.55 | 3.25 | 1.35 | 1.05 | 0.2 | 6.6 | 2 | 2 | 5 | 2.26 | 2.87 | 2 | 4.7 | 2.28 | 2.74 |
| M6 | 1 | 2 | 38 | 6.8 | 14.5 | 13.8 | 4.55 | 4.25 | 1.8 | 1.4 | 0.25 | 0.82 | 2.5 | 3 | 7.1 | 3 | 3.66 | 3 | 5.7 | 3.02 | 3.48 |
| M8 | 1.25 | 2.5 | 38 | 9.2 | 19 | 18.16 | 5.9 | 5.6 | 2.2 | 1.8 | 0.4 | 11 | 3.2 | 4 | 9 | 4.18 | 4.68 | 4 | 8.8 | 4.06 | 4.52 |
| Thread d | p | a | b | dk | f | r | rf | x | Cross Recess | ||||||||
|---|---|---|---|---|---|---|---|---|---|---|---|---|---|---|---|---|---|
| No. | Type H | Type Z | |||||||||||||||
| m | penetration depth | m | penetration depth | ||||||||||||||
| max | min | nom = max | min | approx | max | max | approx | max | approx. | min | max | approx | min | max | |||
| M1.6 | 0.35 | 0.7 | 15 | 3 | 2.75 | 0.4 | 0.96 | 0.4 | 3 | 0.9 | 0 | 1.9 | 0.74 | 1.1 | 1.8 | 0.89 | 1.14 |
| M2 | 0.4 | 0.8 | 16 | 3.8 | 3.5 | 0.5 | 1.2 | 0.5 | 4 | 1 | 1 | 2.5 | 1.1 | 1.4 | 2.4 | 1.04 | 1.35 |
| M2.5 | 0.45 | 0.9 | 18 | 4.7 | 4.4 | 0.6 | 1.5 | 0.7 | 5 | 1.1 | 1 | 2.7 | 1.3 | 1.6 | 2.8 | 1.5 | 1.75 |
| M3 | 0.5 | 1 | 19 | 5.6 | 5.3 | 0.75 | 1.65 | 0.8 | 6 | 1.25 | 1 | 3.1 | 1.7 | 2 | 3.1 | 1.83 | 2.08 |
| M3.5 | 0.8 | 1.2 | 20 | 6.5 | 6.14 | 0.9 | 1.93 | 0.95 | 7 | 1.5 | 2 | 4.2 | 1.74 | 2.24 | 4.3 | 1.93 | 2.39 |
| M4 | 0.7 | 1.4 | 22 | 7.5 | 7.14 | 1 | 2.2 | 1 | 8 | 1.75 | 2 | 4.5 | 2.04 | 2.54 | 4.6 | 2.26 | 2.72 |
| M5 | 0.8 | 1.6 | 25 | 9.2 | 8.84 | 1.25 | 2.5 | 1.3 | 10 | 2 | 2 | 5.3 | 2.77 | 3.27 | 5.3 | 2.89 | 3.35 |
| M6 | 1 | 2 | 28 | 11 | 10.57 | 1.5 | 3 | 1.6 | 12 | 2.5 | 3 | 6.8 | 3.03 | 3.53 | 7 | 3.3 | 3.76 |
| M8 | 1.25 | 2.5 | 34 | 14.5 | 14.07 | 2 | 4 | 2 | 16 | 3.2 | 4 | 9 | 4.18 | 4.68 | 8.8 | 4.06 | 4.52 |
| M10 | 1.5 | 3 | 40 | 18 | 17.57 | 2.5 | 5 | 2.5 | 20 | 3.8 | 4 | 10 | 5.38 | 5.88 | 9.9 | 5.28 | 5.74 |