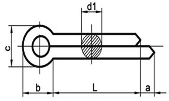
din-94-cottar-split-pin

DIN 94 Dimensions for Cotter Pins

dd1 max.d1 min.c max.c min.a max.b ˜
10.90.81.81.61.63.0
1.21.00.921.72.53.0
1.61.41.32.82.42.53.2
21.81.73.63.22.54.0
2.52.32.14.64.02.55.0
3.22.92.75.85.13.26.4
43.73.57.46.54.08.0
54.64.49.28.04.010.0
6.35.95.711.810.34.012.6
87.57.31513.14.016.0
109.59.31916.66.320.0
1312.412.124.821.76.326.0