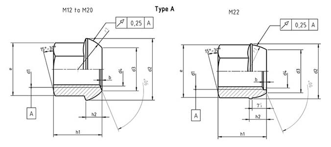
DIN 74361 A

Dimensions for DIN 74361 A Spherical collar nuts form A

d s h d2
M12x1.5 17 18 23
M14x1.5 19 20 26
M18x1.5 24 25 28
M20x1.5 27 27 33
M22x1.5 30 30 36