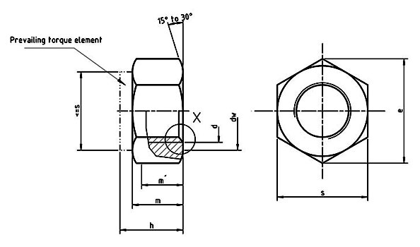
| d | s | h | m | e min. |
|---|---|---|---|---|
| M3 | 5,5 | 3,7 | 2,0 | 6,01 |
| M4 | 7 | 4,2 | 2,2 | 7,66 |
| M5 | 8 | 5,1 | 2,75 | 8,79 |
| M6 | 10 | 6 | 3,3 | 11,05 |
| M7 | 11 | 7 | 3,8 | 12,12 |
| M8 | 13 | 8 | 4,4 | 14,38 |
| M10 | 16 | 10 | 5,5 | 17,77 |
| M12 | 18 | 12 | 6,6 | 20,03 |
| M14 | 21 | 14 | 7,7 | 23,35 |
| M16 | 24 | 16 | 8,8 | 26,75 |
| M20 | 30 | 20 | 11,0 | 32,95 |
| M24 | 36 | 24 | 13,2 | 39,55 |
| M30 | 46 | 30 | 16,5 | 50,85 |
| M36 | 55 | 36 | 19,8 | 60,79 |