DIN 660

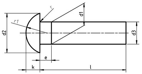
Dimensions for DIN 660 Round Head Rivets

d1d2d3ekrr1
NominalToleranceNominaltolerancemin.maxjs14maxapprox
1± 0.051.8h140.930.50.60.21
1.2± 0.052.1h141.130.60.70.21.2
1.4± 0.052.4h141.330.70.80.21.4
1.6± 0.052.8h141.520.810.21.6
2± 0.13.5h141.8711.20.21.9
2.5± 0.14.4h142.371.251.50.22.4
3± 0.15.2h142.871.51.80.22.8
3.5± 0.16.2h153.371.752.10.33.4
4± 0.17h153.8722.40.33.8
5±0.158.8h154.822.530.44.6
6±0.1510.5h155.8233.60.45.7
7±0.1512.2h156.823.54.20.46.6
8±0.1514h157.7644.80.47.5