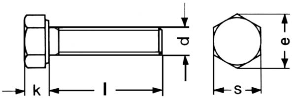
Adfast Components offers precision-engineered hot and cold forged fasteners ranging from M3 to M100, ensuring superior strength and reliability. Designed to meet diverse industrial standards, our components guarantee durability and performance.
Explore Adfast Components for precision-engineered fasteners, offering hot & cold forged solutions with metric sizes from M3 to M100 for diverse industrial needs.