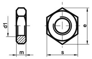
DIN 439 Dimension for Hex Jam Nut

d1 s m max e min
M1.6 3.2 1 3.48
M1.7 3.2 1 3.48
M2 4 1.2 4.32
M2.3 4.5 1.2 5.20
M2.5 5 1.6 5.45
M2.6 5.5 1.8 6.01
M3 5.5 1.8 3.01
M3.5 6 2 6.58
M4 7 2.2 7.66
M5 8 2.7 8.79
M6 10 3.2 11.05
M8 13 4 14.38
M10 16 5 17.77
M12 18 6 20.03
M14 21 7 23.35
M16 24 8 26.75
M18 27 9 29.56
M20 30 10 32.95
M22 34 11 37.29
M24 36 12 39.55
M27 41 13.5 45.20
M30 46 15 50.85
M33 50 16.5 55.37
M36 55 18 60.79
M39 60 19.5 66.44
M42 65 21 71.30
M45 70 22.5 76.95
M48 75 24 82.60
M52 80 26 88.25
M56 85 28 93.56
M60 90 30 99.21
M64 95 32 104.86