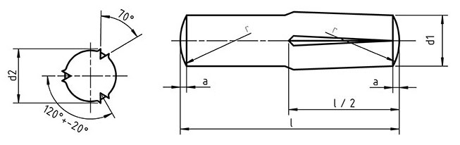
Dimensions for DIN 1474 Grooved pins full length parallel

d1 a The smallest cutting force 2
sections kN
Nominal tolerance =
1.5 h9 0.2 1.6
2 h9 0.25 2.84
2.5 h9 0.3 4.4
3 h9 0.4 6.4
4 h9 0.5 11.3
5 h9 0.63 17.6
6 h9 0.8 25.4
8 h9 1 45.2
10 h11 1.2 70.4
12 h11 1.6 101.8
16 h11 2 181
20 h11 2.5 283
25 h11 3 444