UNI 1051

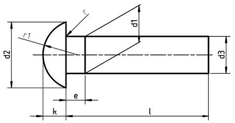
Dimensions for UNI 1051 Round Head Rivets

d1 d2 d3 e k r r1
Nominal Tolerance Nominal tolerance min. max js14 max approx
1 ± 0.05 1.8 h14 0.93 0.5 0.6 0.2 1
1.2 ± 0.05 2.1 h14 1.13 0.6 0.7 0.2 1.2
1.4 ± 0.05 2.4 h14 1.33 0.7 0.8 0.2 1.4
1.6 ± 0.05 2.8 h14 1.52 0.8 1 0.2 1.6
2 ± 0.1 3.5 h14 1.87 1 1.2 0.2 1.9
2.5 ± 0.1 4.4 h14 2.37 1.25 1.5 0.2 2.4
3 ± 0.1 5.2 h14 2.87 1.5 1.8 0.2 2.8
3.5 ± 0.1 6.2 h15 3.37 1.75 2.1 0.3 3.4
4 ± 0.1 7 h15 3.87 2 2.4 0.3 3.8
5 ±0.15 8.8 h15 4.82 2.5 3 0.4 4.6
6 ±0.15 10.5 h15 5.82 3 3.6 0.4 5.7
7 ±0.15 12.2 h15 6.82 3.5 4.2 0.4 6.6
8 ±0.15 14 h15 7.76 4 4.8 0.4 7.5

Notes : Non preferred size, not recommended for new design due to limited availability